REPARATII SCURGERI TERASE
C A D A C
este denumirea generica in domeniul instalatiilor pentru
CONTRA-SIFON de TERASA
Acasa
Brevet de inventie
Imagini
Video
Aplicatii existente
Contact
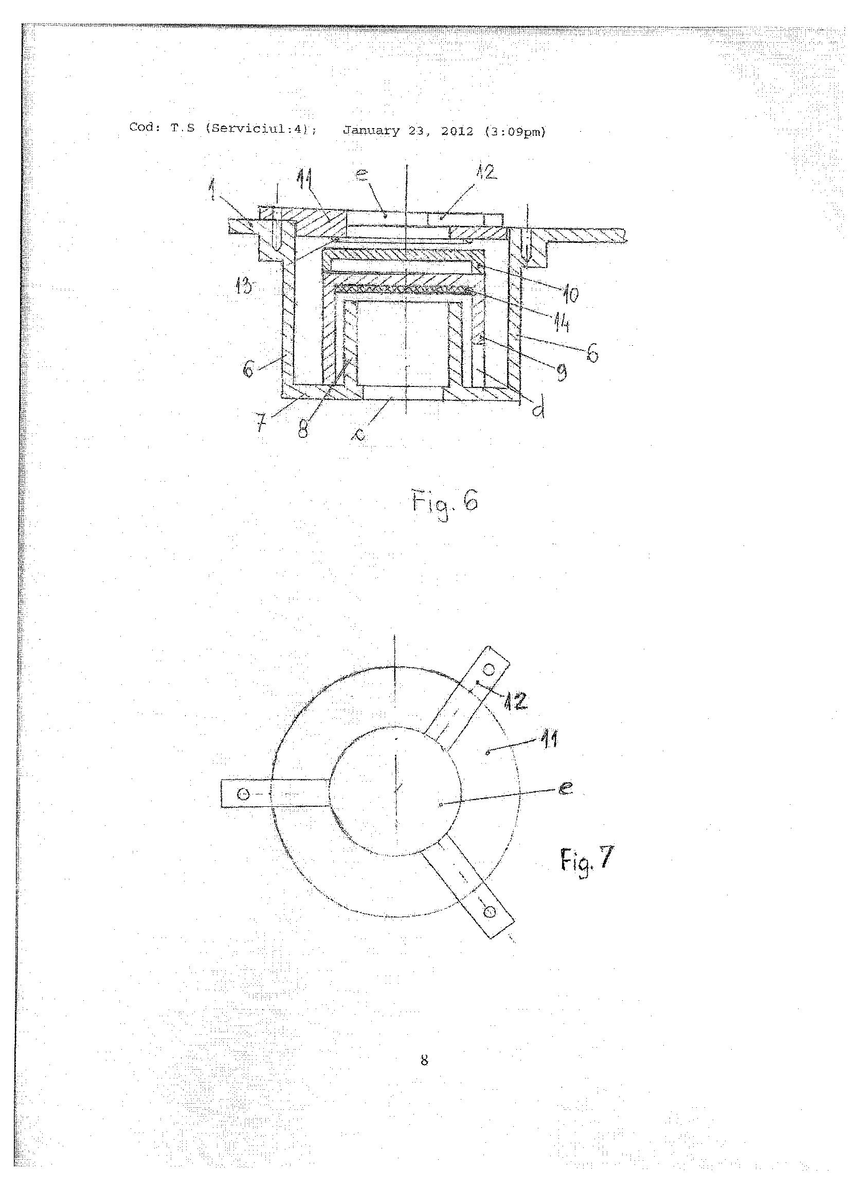
BREVETUL DE INVENTIE
ANEXELE BREVETULUI DE INVENTIE